腾讯云
开发者社区
文档
建议反馈
控制台
登录/注册
首页
学习
活动
专区
圈层
工具
MCP广场
文章/答案/技术大牛
搜索
搜索
关闭
发布
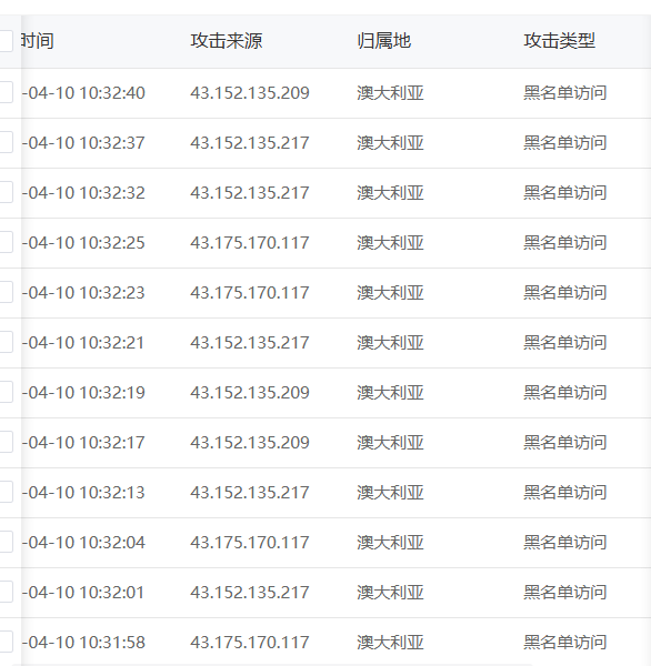
设置了黑名单为什么还是被攻击?
写回答
关注问题(1)
社区首页
>
问答首页
>
设置了黑名单为什么还是被攻击?
问
设置了黑名单为什么还是被攻击?
提问于 2026-04-10 10:41:14
回答 1
关注 1
查看 11
设置了黑名单为什么还是被攻击
边缘安全加速平台EO免费套餐
写回答
关注问题(1)
分享
举报
回答
和开发者交流更多问题细节吧,去
写回答
相关文章
相似问题
相关问答用户
请输入您想邀请的人
领券
问题归档
专栏文章
快讯文章归档
关键词归档
开发者手册归档
开发者手册 Section 归档